Home Manual Frozen Meat Slicer
Manual Frozen Meat Slicer Introductions:
- High-speed forged blade, sharp durable, metal cutting special use blade.
- Positioning device, the fuselage with meat block positioning device, security, reliability, antifreeze healthy.
- Full stainless steel fuselage, appearance fine, anti-rust, Not easily deformation.
- Slice speed, each minute most fast can cut 120 Slice, high-speed and quick.
- Slicing thickness uniform, used thread regulation, slice thickness uniform, curl up effect better.
- Combine slicing and shredding, can do hard quality vegetables and frozen meat for the fast slicing, and shredding.
- Super big thickness regulation can regulate thickness 0.3-40mm, cut range more.
- Anti-sliding feet pad, Non-slip plastic floor mat, and never-aging is more durable.

Technical Parameters of Stainless Steel Home Manual Meat Slicer:
| Name | Stainless Steel Home Meat Slicer |
| Type | 300EV |
| Blade length | 300mm |
| Slice Cutting Thickness | 0.3—40mm |
| Slice Cutting Speed | 100-120slice/min |
| Lamb cutting size | diameter 150mm |
| Beef Cutting size | 220*130mm |
| Net Weight | 9KG |
| Size | 600*285*190mm |
| Adjustment method | screw thread adjust |

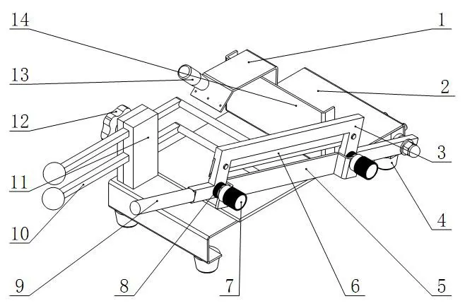
- Press meat plate
- Body
- Knife frame
- Foot Margin
- Meat cutting positioning guard
- Blade
- Thickness adjustment knob
- Thickness fixed knob
- Meat slicing handle
- Support stick
- Support Stick seat
- Support stick lock handle
- Press meat handle
- Fix meat plate
Frozen meat hardness requirements:
- Frozen meat temperature is normal control at -2℃ to -12℃
- Recommended inspection methods: the hardness of frozen meat can be hand sense, fingernails pinch meat, just can pinch the move as appropriate, if the choke is the meat roll too hard, pinched deep is too soft,
When the meat freezes too hard, it can cause the slice to be difficult, and the pieces of meat to be chopped If the meat is too soft, it can’t slice constantly
Blade maintenance:
After use, please apply a small amount of cooking oil to the blade. Because the blade is high-speed forged steel, not stainless steel. Stainless steel does not have high-speed forged steel, which is wear-resistant, durable, and sharp. Therefore, our mechanical blades can only be used, as long as they are coated with cooking oil after each use, they will not rust.






